Remember productProduct noted
Product saved for 30 daysSee notepad
The product could not be saved. Please try again.
Compare productsProduct added
Product saved for 30 daysTo the Product Comparison
The product could not be saved. Please try again.
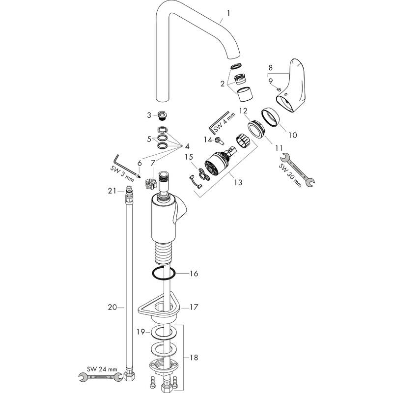
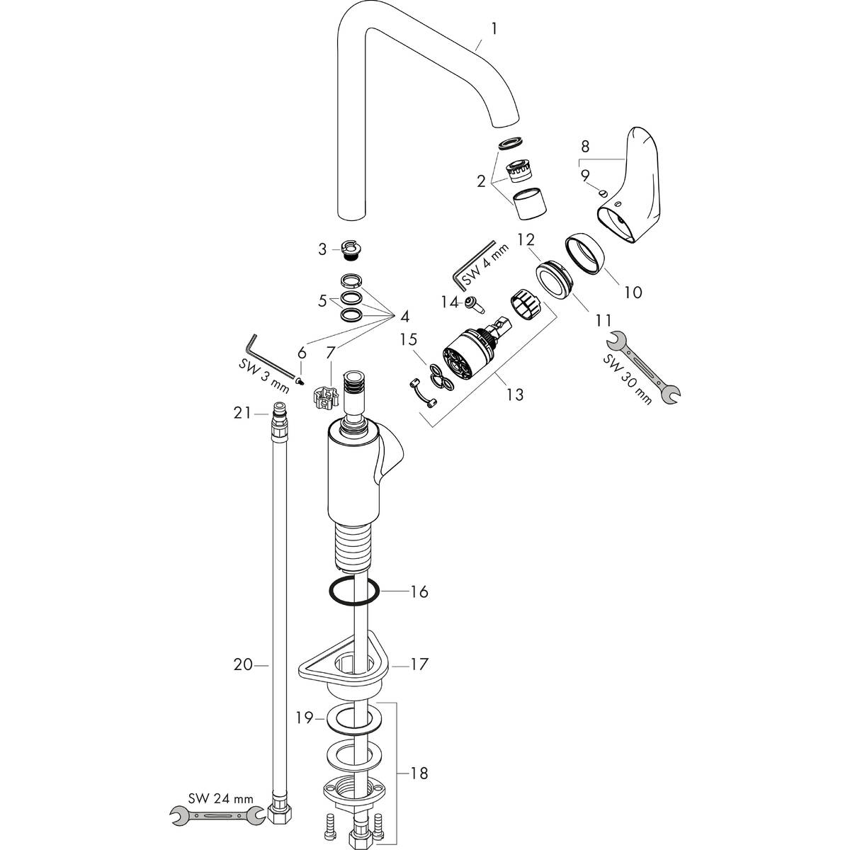
Product features
Innovative technologies
AirPower
AirPower
More pleasure, more efficiency
Products with this shower technology combined water with air to pamper you with more voluminous, lighter and softer water droplets on your skin. For greater showering pleasure with water efficiency.Learn more
Hansgrohe mixers and showers, which are fitted with EcoSmart technology, require up to 60% less water than conventional products – without any loss of comfort. This means you can reduce your water and energy costs and conserve valuable resources.Learn more
Who really likes cleaning? Our invention, QuickClean, rapidly removes dirt and limescale deposits from mixers and showers. Flexible silicon nubs make sure of this. Beware of copies: this QuickClean logo is the only guarantee of genuine Hansgrohe quality.Learn more
"We endeavour to always provide up-to-date, complete information on our website. However, we do not assume any liability for the up-to-dateness, accuracy, completeness or suitability of the information for particular uses."